簡介:
COPPUS品牌JECTAIR HP and Hornet HP文丘里風機,具有質量輕、耐撞擊、傳導型聚合材料、擴散管堅固不易損壞等特點。其中,COPPUS JECTAIR Hornet HP可以提供提供3S-HP、3-HP、6-HP三種尺寸;聚合材質可安全排除靜電;擴散管為低密度的聚乙烯材質,UL等級為94-V2, 操作溫度可達93"C。是“高性能,高效率之鼓風文丘里風機”的代表作,Coppus Jectair HP在工業界被公認效能較優良的鼓風文丘里風機, 與舊式文丘里風機相比較,新式文丘里鼓風機能達到40:1的空氣流量轉換,并減少26%壓縮空氣的消耗。
特色:
?五種尺寸供選擇:9,8,6-HP,3-HP,3S-HP
?HI Performer (HP)及Hornet系列皆可提供6-HP,3-HP,3S-HP
?送風量為 1,370-8,900cfm(2,328-15,121 m3/hr)
?進/出氣額定比可達40:1
?噴嘴與外殼一體成型
?高靜電壓性能
?提供鋼質,鋁質或防撞聚合材質多款擴散管(Hornet HP型)
?鋼制擴散管以黃色環基氧粉及傳導材料包覆,可排除靜電
?無可卸式組件,免維修
?所有型號配備靜電接地線及彈簧夾
?可在擴散管末端接伸縮風管(亦可選用風管入口拼合器)
?可選用三角架


操作原理:
壓縮空氣或蒸氣透過單一入口接合裝置 進入Jectair鼓風機。由噴嘴噴出的氣體或蒸氣,形成文丘里原理,吸引周圍空氣經由入口進入Jectair,空氣便透過管狀擴散管以高速率的方式被排放出來。
注意:操作效能依賴壓縮空氣之流量及壓力
COPPUS JECTAIR文丘里風機選型:
|
型號
|
顏色 |
材質 |
壓力100psig的風量 |
圖片 |
適用環境 |
|
3S-HP |
黃色 |
鍍鋅鋼 |
2820m3/hr |
|
普通環境 |
|
3-HP |
黃色 |
鍍鋅鋼 |
3160m3/hr |
||
|
6-HP |
黃色 |
鍍鋅鋼 |
8274m3/hr |
||
|
8 |
黃色 |
鍍鋅鋼 |
11469m3/hr |
||
|
9 |
黃色 |
鍍鋅鋼 |
15120m3/hr |
||
|
3S-HP Hornet |
黑色 |
聚乙烯 |
2820m3/hr |
|
易燃易爆環境 |
|
3-HP Hornet |
黑色 |
聚乙烯 |
3160m3/hr |
||
|
6-HP Hornet |
黑色 |
聚乙烯 |
8274m3/hr |
性能:
進/出氣額定比=總送風量m3/hr/空氣消耗量m3/hr
|
入口風壓 |
型號 |
送風量cfm(m3/hr) |
空氣消耗量cfm(m3/hr) |
進/出氣額定比 |
|
60psig |
3S-HP |
1,370/2,328 |
47/80 |
29.1 |
|
3-HP |
1,520/2,595 |
47/80 |
32.3
|
|
|
6-HP |
3,980/6,762
|
98/167 |
40.6
|
|
|
8 |
5,600/9,515 |
178/302 |
31.5
|
|
|
9 |
6,880/11,096 |
265/450 |
25.8
|
|
|
80psig |
3S-HP |
1,530 /2,600 |
61/104 |
25.1 |
|
3-HP |
1,700/2,888 |
61/104 |
27.8
|
|
|
6-HP |
4,500/7,645 |
126/214 |
35.7
|
|
|
8 |
6,250/10,620
|
233/396 |
26.8
|
|
|
9 |
8,000/13,592 |
336/571 |
23.8
|
|
|
100psig |
3S-HP |
1,660/2,820 |
72/122 |
23.0
|
|
3-HP |
1,860/3,160 |
72/122 |
25.8
|
|
|
6-HP |
4,870/8,274 |
153/260 |
31.8
|
|
|
8 |
6,750/11,469
|
282/479 |
23.9
|
|
|
9 |
8,900/15,12 |
410/697 |
21.7
|
|
型號 |
入口風機 |
||
|
|
60 psig 4.2kg/cm2 |
80 psig 5.6kg/cm2 |
l00psig 7kg/cm2 |
|
3S-HP |
5.8" / 147mm |
7.5" / 191mm |
89' / 224mm |
|
3-HP |
5.8〃 / 147mm |
7.5" / 191mm |
8.9" / 224mm |
|
6-HP |
4.3" / 109mm |
5.2” / 132mm |
6.7" / 170mm |
|
8 |
3.9" / 99mm |
5.2” / 132mm |
6.2” / 157mm |
|
9 |
5.5" / 140mm |
6.8" / 173mm |
7.7” / 196mm |
|
型號 |
風管直徑 |
自由風 |
20ft/6m |
30ft/9m |
40ft/12m |
50ft/15m |
|
3-HP |
8" 203mm |
1,700/2,888 |
1,550/2,634 |
1,480/2,515 |
1,410/2,396 |
1,350/2,294 |
|
6-HP |
12”305mm |
4,500/7,645 |
4,020/6,830 |
3,860/6,558 |
3,715/6,312 |
3,580/6,083 |
|
8 |
14”356mm |
6,250/10,620 |
5,550/9,431 |
5,280/8,972 |
5,050/8,581 |
4,850/8,241 |
|
9 |
14" 356mm |
8,000/13,592 |
6,850/11,640 |
6,550/11,130 |
6,250/10,620 |
6,000/10,195 |
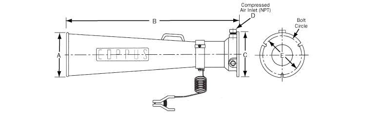
尺寸結構圖:

尺寸規格參數表:
型號
A inch/mm
B inch/mm
C inch/mm
D inch/mm
固定縫
WT lbs/kg
E inch/mm
No.
寬度 inch/mm
6.0/152
16.5/419
7.5/190
1/2/13
6.5/165
3
0.4/10
6/2.7
3-HP
7.3/185
33.0/838
7.5/190
1/2/13
6.5/165
3
0.4/10
9/4.1
6-HP
12.0/305
44.2/1,123
11.5/292
1/25
10.8/274
3
0.4/10
21/9.5
8
14.0/356
46.0/1,168
14.3/363
1/25
13.5/343
3
0.5/13
35/15.9
9
14.0/356
46.0/1,168
16.8/427
1/25
15.3/387
0.9/23
42/19
噪聲變化:
安全措施:
?在危險環境中務必使用接地線(COPPUS Jectair標準配備),以利于靜電排放
?在空氣或蒸氣進入之前,需要先檢查裝備,以防范反作用力過高所造成傷害與危險。
?操作時需要避免固體或瓦礫進入入口
?密閉容器排放煙霧時,注意不可造成真空狀態以免容器破裂。
使用現場:
適用行業:
Coppus便攜式散熱降溫鼓風機為各行業提供一個可靠安全的空氣供應及交換系統,特別針對密閉空間操作中的工序及機械冷卻及人員降溫,以改善總體生產效率及操作安全。
噴涂和噴漆:干燥及固化,排煙、供應新鮮空氣,保證舒適安全的工作環境;
鋼廠高溫操作車間:工序冷卻、人員降溫;
電力以及燃氣應用:地下通風、設備冷卻,排煙;
造紙廠:密閉空間通風,人員降溫;
造船廠:定位焊接作業過程排煙,供應新鮮空氣;
船舶:船艙換氣;
煉油廠:設備冷卻,密閉空間通風,人員降溫;
化工廠:排煙、通風、人員降溫;
食品加工處理:排煙、工序冷卻;
發電:密閉空間通風、人員降溫;
COPPUS通風機型號大全:
1、Double Duty Heat Killer
COPPUS-DDHK-18K03D、COPPUS-DDHK-24K07D、COPPUS-DDHK-24K10D、COPPUS-DDHK-30K30D
2、Jectair Hornet
COPPUS-Jectair-3S-HP、COPPUS-Jectair-3-HP、COPPUS-Jectair-6-HP、COPPUS-Jectair-8、COPPUS-Jectair-9
3、Reaction Fans
COPPUS-RF-12、COPPUS-RF-16、COPPUS-RF-20、COPPUS-RF-24
4、CADETS
COPPUS-VAC4(普通)、COPPUS-VEP4(防爆)、COPPUS-CAC4(普通)、COPPUS-CEP4(防爆)
5、VANO
COPPUS-175CV、COPPUS-250CV
6、COPPUS-Air Max-12
7、TA16
COPPUS-TA16-5000、COPPUS-TA16-5500
8、Portavent
COPPUS-PV-500、COPPUS-PV-750、COPPUS-PV-1000
9、Ventair
COPPUS-TM-4、COPPUS-TM-5、COPPUS-TM-6、COPPUS-TM-8、COPPUS-TM-9
聯系人:沈先生
手 機:133-7212-5666
郵 箱:China@swn.cn
公 司:蘇州薩沃納
地 址:江蘇省昆山市慶豐西路555號